

訂購SKF MB27軸承,請隨時與我們聯系,我們將根據匯率的波動為您提供實時準確的價格,確保以最優(yōu)惠的價格為您提供優(yōu)質的SKF MB27軸承。
型號:MB27
品牌:SKF
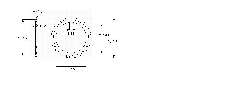
內徑:135
外徑:185
厚度:2
系列:MB(L)鎖定墊圈
【更新日期:2016/8/3 電腦版 MB27軸承】
| MB(L)鎖定墊圈 | ||||||
|
|
||||||
| 尺寸 | 體積 | 型號 | ||||
| 鎖緊墊圈 | 適宜的鎖定螺母 | |||||
| d | d2 | B | ||||
|
|
||||||
| mm | kg | - | ||||
|
|
||||||
| 135 | 185 | 2 | 0,14 | MB 27 | KM 27 | |