

磐固晟是SKF進口軸承經銷 ,銷售SKF MB29軸承,不僅具備價格優(yōu)勢,而且在供貨及時性、供貨能力方面具有比較優(yōu)勢,能在最短的時間內為用戶提供原裝進口的SKF MB29軸承。
型號:MB29
品牌:SKF
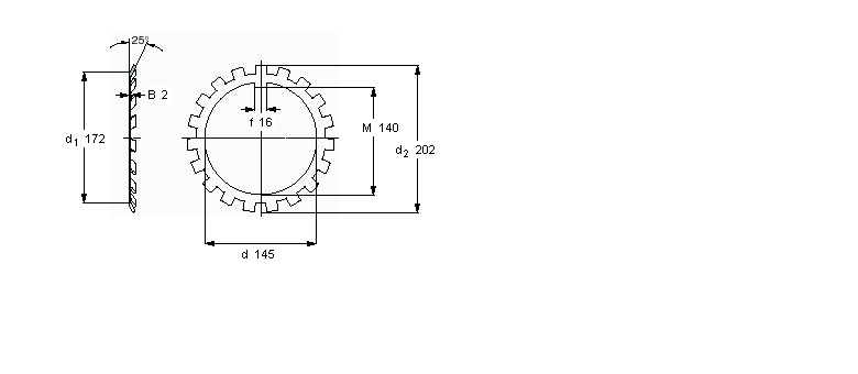
內徑:145
外徑:202
厚度:2
系列:MB(L)鎖定墊圈
【更新日期:2016/8/3 電腦版 MB29軸承】
| MB(L)鎖定墊圈 | ||||||
|
|
||||||
| 尺寸 | 體積 | 型號 | ||||
| 鎖緊墊圈 | 適宜的鎖定螺母 | |||||
| d | d2 | B | ||||
|
|
||||||
| mm | kg | - | ||||
|
|
||||||
| 145 | 202 | 2 | 0,17 | MB 29 | KM 29 | |