
鼎力晟業(yè)是SKF進口軸承代理,銷售SKF BTM120A/HCP4CDBA軸承,不僅具備價格優(yōu)勢,而且在供貨及時性、供貨能力方面具有比較優(yōu)勢,能在最短的時間內為用戶提供原裝進口的SKF BTM120A/HCP4CDBA軸承。
型號:BTM120A/HCP4CDBA
品牌:SKF
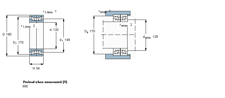
內徑:120
外徑:180
厚度:54
系列:雙向, 精密,高精度軸承, BTM..A design, 30°, hybrid, preload A
【
手機版 BTM120A/HCP4CDBA軸承
點擊量
更新日期:2021/12/28
】
電話:020-36026999 傳真:020-36705678 服務熱線:18924187999 郵箱:sales@gzbearing.cn
| 雙向, 精密,高精度軸承, BTM..A design, 30°, hybrid, preload A | |||||||||||
| 公差, 2344(00) 設計 , BTM 設計 | |||||||||||
| 推薦配合, shafts, housings | |||||||||||
| 軸和軸承座公差 | |||||||||||
|
|
|||||||||||
| 主要數據尺寸 | 基本負荷額定值 | 疲勞負荷限值 | 可達到的速度 | 體積 | 型號 | ||||||
| 動態(tài) | 靜態(tài) | 當潤滑與 | |||||||||
| 油脂 | 滴油潤滑 | ||||||||||
| d | D | H | C | C | C0 | Pu | |||||
|
|
|||||||||||
| mm | kN | kN | r/min | kg | - | ||||||
|
|
|||||||||||
| 120 | 180 | 54 | - | 65,5 | 163 | 5,6 | 6300 | 8000 | 4,35 | BTM 120 A/HCP4CDBA | |
NJ2219+HJ2219軸承 CRBC10020軸承 59176/59412軸承 NJ207ECML軸承 HSS71903C.T.P4S.UL軸承 562932軸承 BC4-8062/HA1軸承 R1-4軸承 71911ACE/HCP4A軸承 SNL517軸承 HM3088軸承 B7207-E-T-P4S軸承 390A/394D軸承 GE16-DO軸承 SL045015PP軸承 23968軸承 6021-2RS軸承 T5ED060軸承 7216ACD/DF軸承 629-2Z軸承